I've been in this game long enough now to know that patent applications and the submission therefore of does not equate to an intention to build anything, I'm also aware that Apple regularly submits patents for things that never see the light of day, so much so that there is a whole website dedicated to Apple's patent activity.
However, a particular story has caught my eye on Patently Apple today, and obviously it involves 3D printing. This wouldn't be the first time Apple have submitted a patent surrounding the technology and its acquisition of the 3D scanning company PrimeSense, whose cameras are used in the likes of the 3D Systems Sense handheld scanner and the Xbox Kinect, show the company does take an avid interest in the world of 3D. The particularly interesting thing about this patent is that it targets an area of the industry that undoubtedly needs a fresh approach.

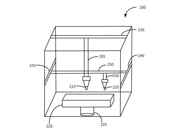
The patent is for a 'Method And Apparatus For Three Dimensional Printing Of Colored Objects', and suggests that Apple are indeed heading for the production of a 3D printer that prints in full colour. The drawings appear to show a printer that would apply a paint or ink to be applied as each layer is deposited or after the model has been completed in its entirety, a theory many have suggested could be possible for desktop 3D printing. There are many approaches for colouring filament both before and after printing many RepRappers already try pre-colouring filament by using marker pens before they go into the extruder head, and a company like Spectrom are developing a technique for colouring the filament to any custom colour on demand but nobody has found an automated approach to almost spraying the model to desired colours post printing, on the desktop anyway.
It's fair to say if Apple did produce a machine it would be more sophisticated than a Sharpie taped to the filament feeder, and a report on Benzinga last year claimed it was a matter of when not if Apple do actually release a machine. However the patent and its drawings do seem pretty crude and there's very little mention of what processes the machine will use to 3D print the model, what kind of size we're talking - desktop or industrial, what materials - many filaments are notoriously difficult to colour without applying a primer.

In the positive column though is the lead engineer, Steve Dahl - according to Patently Apple Steve is a very highly thought of engineer at Apple and has been the lead on several successful projects beforehand.
It's fair to say that Patently Apple's grasp of the 3D printing industry is fairly rudimentary, claiming that HP is considered the leader in colour 3D printing is a misstep at best, HP are yet to release details of its full-colour capabilities and in terms of install base 3D Systems ProJet printers (based on Z-Corp's tech.) and Mcor's paper based 3D printing clearly lead the way. In fairness my grasp of Apple's patent activity is not as well rounded as theirs so we'll call it quits on that one.
Get your FREE print subscription to TCT Magazine.
Exhibit at the UK's definitive and most influential 3D printing and additive manufacturing event, TCT 3Sixty.
So will Apple actually make this machine? It is very interesting to see Apple take the technology seriously but judging by the limited information I'm going to say this is one Apple have kicked into the long grass.