Apologies for that clickbait headline, but hey it worked you're reading this aren't you?
Samsung, who have been busy recently fighting fires both physically and metaphorically, tweeted this on one of its many regional official social media accounts:
Say hello to the future! A world where #3DPrinting can help in #TransformingLives! pic.twitter.com/E09LqYYCaL— Samsung Pakistan (@Samsung_Pak) October 21, 2016
At first glance, I presumed it was just some generic 3D printer stock photo (and if it is please point it out) but a reverse Google image search gave me nothing and the style of what looks like the extruder is not immediately recognisable to me.
90% of me thinks this is just a social media bod tweeting a generic "The future's bright..." type message but then looking through all the other posts on that official account I see nothing but Samsung TVs, smartphones, wearables. There's not a single photo in the hundreds I've scrolled through that isn't linked to a Samsung product in some way, shape or form.
Samsung has, on more than one occasion, denied that it is interested in the 3D printing market and just last month sold its 2D printer arm and relevant IP to HP. However, the Korean company does keep dipping its toes in the additive water, first with 3D Systems at CES 2014, and more recently with MakerBot as they team up to bring 3D printing to the classroom.

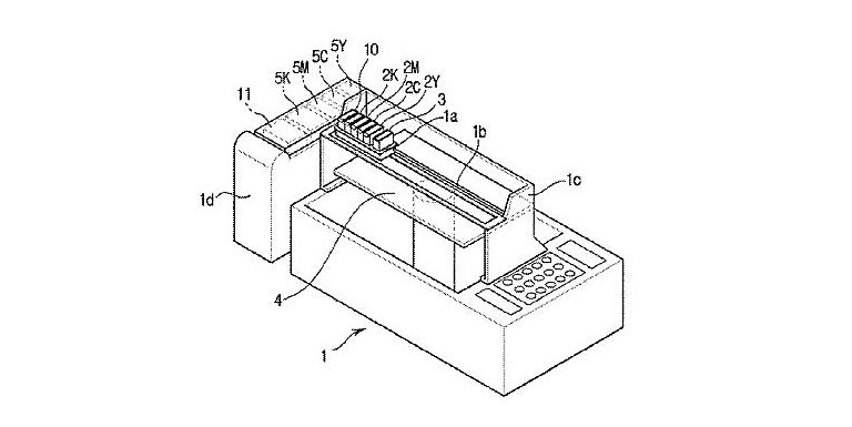
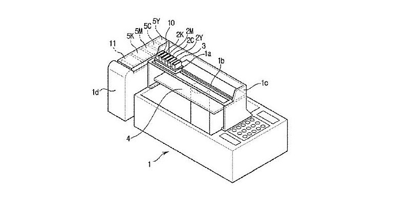
The company has applied for several 3D printing patents over the last few years including one for printing with multicolour inks. However, a patent is nothing to get excited about many of the mega companies have patents geared towards 3D printing, take Apple for example but it is clear that the company is at least paying attention to the market.
This tweet doesn't confirm that the company intends to create a 3D printer at all but taking a look at a patent Samsung own for a "Holographic 3D Printing Apparatus" one could extrapolate that the image posted today has hallmarks of that process. And what with ONO's rise of 3D printing with your smartphone perhaps Samsung are further down the line than we thought?
