Skip to content

Tethon 3D granted patent for binder jet additive manufacturing method

Tethon 3D has been granted a patent for a binder jet additive manufacturing method and is stepping up its pursuit of a partner to commercialise the technology.

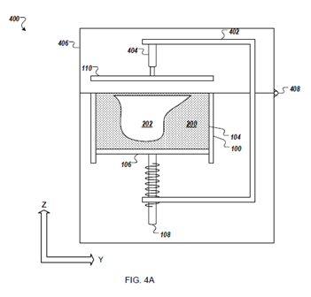
Tethon 3D binder jet drawing                Tethon 3D drawing: components labelled 110 and 106 exhibit compression plates which ensure greater control over isotropic density of parts. - Te...
Tethon 3D binder jet drawing Tethon 3D drawing: components labelled 110 and 106 exhibit compression plates which ensure greater control over isotropic density of parts. - Tethon 3D
Published:

Tethon 3D has been granted a patent for a binder jet additive manufacturing method and is stepping up its pursuit of a partner to commercialise the technology.

The company filed the patent (U.S. no. 10,449,692) in December 2015 before turning its focus to developing ceramic resins and later the Bison 1000, a desktop digital light processing (DLP) platform tailored to process them. Yet, it told TCT in September last year that it still planned delve back into binder jet technology and with this latest development looks set to reignite its endeavours of four years prior.

Tethon’s binder jetting technology uses compression plates to increase the isotropic density of parts made from a granular material. Once the granular material is compressed, a binder solution is deposited to create a layer with a controlled density, the process repeating until parts are built.

So far, the company has only used ceramic materials on its prototype machine, but says the technology is able to process metals, polymers and sand too.

“Along with optimised spreading we believe this technology is necessary to create fully dense objects. While we’ve used our prototype printer for ceramic applications, we also see immense value in better particle distribution when using this improved technology to print with metals or polymers,” explained Karen Linder, CEO of Tethon 3D.

The company introduced its first additive manufacturing hardware product this spring at RAPID + TCT, having already built up a solid reputation as a supplier of ceramic materials to over 40 countries. While that status was being forged, its binder jet technology was placed on the backburner, though the plan has always stayed the same. Although Tethon had the capacity to develop and commercialise a portfolio of materials and a DLP machine, it has felt a partnering company would be necessary to commercialise its binder jet efforts. Once found, Tethon expects to have a big impact in another additive technology discipline.

“This is a proud moment for our team as we add another patent to our existing IP portfolio,” offered Trent Allen, President of Tethon 3D. “A lot has changed at Tethon since we filed this patent in 2015. However, we were, and still are, a materials company at heart. We hope finding the right partner to bring this hardware technology to market will reignite the binder jetting market.”

Tethon 3D will be exhibiting at the upcoming Formnext event in Hall 12.0, Stand E101G.

More in Intellectual Property

See all

More from TCT Team

See all

From our partners