On 1st June 2023, the biggest change to the European patent system in a generation took place – the launch of the Unitary Patent system. Inventors can now protect their innovative product or method simultaneously in seventeen different European Union member states, while paying just a single annual renewal fee. In addition, Unitary Patent (UP) owners can enforce their patent centrally in the Unified Patent Court (UPC).
While the post-Brexit UK is not directly participating in the Unitary Patent system, UK inventors can still benefit from it. And as you might expect, UK companies in the Additive Manufacturing (AM) sector are among some of the early adopters of the UP.
AM Patenting Trends in Europe
According to a recent European Patent Office (EPO) report, patent applications from over 50,000 international patent families (IPFs) related to AM technologies have been filed across the world since 2001. Since 2013, their number has surpassed the 2,000 mark annually, with a remarkable compound annual growth rate (CAGR) of over 26% during that period (eight times the CAGR for patenting overall). Patent applications for more than 8,090 AM-related IPFs were published in 2020 alone, accounting for more than 2% of all IPFs.

When patent applications filed at the EPO are granted, patent owners can decide whether to convert that patent into a UP, covering a block of seventeen EU countries, or whether to follow the traditional “validation” route, and select individual European Patent Convention (EPC) countries in which to validate their patent. Of course, since not all EPC countries are participating in the UP system, a combination of both approaches is possible.
Let’s take a look at some AM patents recently granted by the EPO, for which the owners have elected to register a UP. These patents cover a range of AM technology sectors, from methods of manufacture to AM-produced products, and of course, printers themselves.
Methods
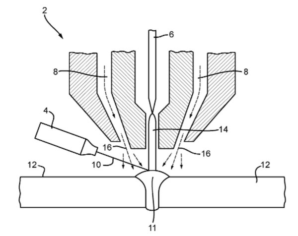
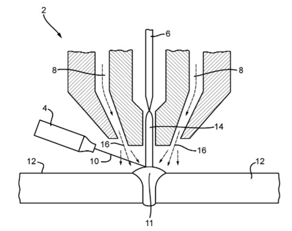
BAE Systems Plc has registered Unitary Patent EP3496889C0 aimed at overcoming the barrier to wider adoption of wire-based additive manufacturing process (wire arc additive manufacture (WAAM) or laser additive manufacture (LAM)) for aluminium, caused by the need to solution heat treat aluminium and aluminium alloys. The BAU patented process solution heat treats the aluminium alloy part during its formation by wire-based additive manufacture, providing a cost effective Rapid Solidification Process (RSP) for producing more highly alloyed compositions.

As shown in the figure (right), energy via an electrode (6) and electric arc (14) is directed onto a growth surface of a workpiece (12) to form a liquid melt-pool (11). Additional material (10) (aluminium or aluminium alloy wire) is fed into the melt-pool by a wire supplier (4) to cause the additional material to become incorporated into the liquid of the melt-pool. The liquid melt-pool is cryogenically cooled via a coolant (16) supplier (8) to achieve a cooling rate of at least 1000°C per second and to cause the liquid melt-pool to solidify.
Get your FREE print subscription to TCT Magazine.
Exhibit at the UK's definitive and most influential 3D printing and additive manufacturing event, TCT 3Sixty.
IO Tech Group Ltd‘s Unitary Patent EP3983200C0 covers additive manufacturing of a free form object made of multicomponent materials, such as epoxy resins or polyurethanes. The method forms very accurate 3D articles in materials having a wide range of viscosities, printing more than one material in each layer. The invention advantageously provides jetting, using a laser-enhanced jetting-based 3D printer, of a second material on top of a first one with a large momentum, enough to create a good mixture between the two materials. Since the method comprises mixing the reactive materials during the printing phase and not before, nozzle clogging and other reaction-related phenomena are overcome.
“The approach to 3D printing provided by the present invention overcomes most, if not all, of the material-related issues mentioned above through the use of laser direct-write (LDW) techniques”.
Products

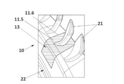
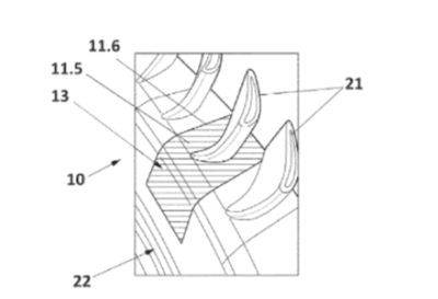
ITP Engines UK Ltd has a Unitary Patent EP3926139C0 in respect of a bladed rotor wheel (or “blisk”) used in aero engine gas turbines. The bladed rotor wheel (10), shown right, includes a joining structure (13) provided by an additive manufacturing process, and configured for integrally merging the portion of a rotor blade (21) with a portion of a forged rotor disk (22). Therefore, a high tech cast blade can be integrally merged with a forged disk by means of the 3D printed joining structure, which serves as a transition zone. This forms a composite structure, with optimum mechanical attributes for each part of the blisk. The use of this joining structure also avoids the need for interlocking mechanisms and associated gaps.

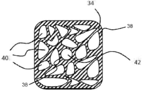
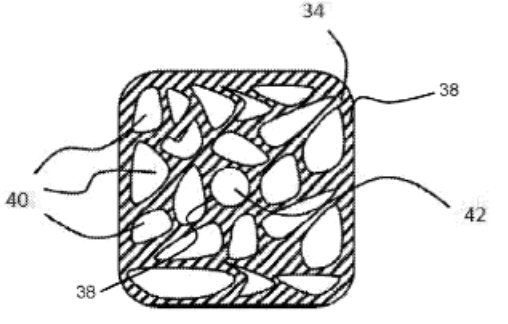
EP3289237C0, owned by Staffordshire-based Alcon Components Limited, references a brake caliper body, formed by additive layer manufacturing. The body of the brake calliper is formed at least in part by a 3D lattice – shown in cross-section right - having a number of cavities or voids (40) and a bulk density of 50% or less of the material from which it is formed, and at least a partial skin (38). In use, the brake calliper sits astride a brake disc, and a bridge member (34) providing a hydraulic fluid conduit (42) spans the disk. The provision of a skinned lattice results in a strong, stiff, yet light body which can conduct thermal energy.
Printers
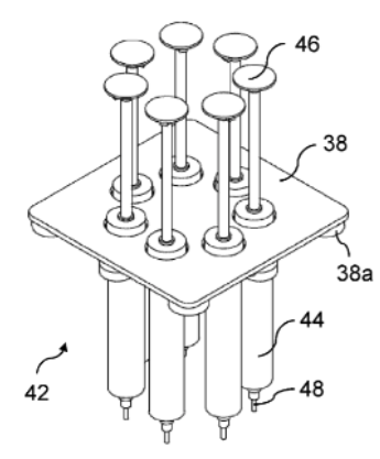
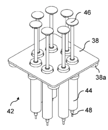
EP3885108C0, registered by Rem3dy Health Limited, which offers personalised health solutions under the brands Nourished (Personalised Nutrition) and Scripted (Personalised Medicine), covers a 3D printer designed to print pharmaceutical or

healthcare supplements. The printer includes a syringe (42) and a plunger (46) that controls pressure within the syringe. The plunger is operated to create a temporary negative pressure in the syringe body (44), which can reduce unwanted dispensation of material from the syringe nozzle (48) between printing operations and thereby can enable more accurate printing, with less wastage.
As a result of choosing a Unitary Patent, the companies above have protection for their inventions across seventeen different countries, and can renew this protection with a single annual fee. Additionally, any infringement can be pursued a central court.
To UP or not to UP?
Although the new Unitary Patent (UP) provides protection for inventions across seventeen countries at relatively low cost, and can be centrally enforced in the Unitary Patent Court (UPC), a UP is also at risk of being centrally “revoked” or cancelled in the UPC by a competitor. Patent owners therefore need to decide whether, in their specific case, the advantages of registering their granted European Patent as a UP outweigh the potential disadvantages
It is also important for patent owners to note that the new Unitary Patent Court additionally has default jurisdiction over all (non-unitary) European patents granted before and after 1 June 2023, where these patents have been “traditionally” validated in one of the seventeen states that have ratified the UPC. As a result, the same central revocation risk applies, in that a single decision of the UPC on validity will apply to all validations of the European patent in UPC-participating countries (although it will not affect the validity of validations of the European patent in countries that are not participating in the UPC).
For this reason, patent owners who want to avoid the possibility of central revocation can take steps to “opt out” their patent from the UPC, and continue instead with the existing national court system, which has been in place since the 1970s. Under the national court system, a patent owner “validates” their granted European patent individually in each country of interest, paying separate renewals for each. A competitor wishing to have the patent revoked therefore must take action in the national court of each “validation” state - a far more expensive process than the central revocation offered by the UPC.
The decision about whether to register your granted European patent as a UP must be done within one month of grant. If you are undecided about a UP, or whether to stay in or to opt out of the UPC jurisdiction, seek advice now from your patent attorney.
Susan Bradley is Principal Associate, Oxford at Marks & Clerk LLP, a firm of patent and trade mark attorneys with eight offices across the UK. As an associate member of Additive Manufacturing UK (AMUK), the trade association for the UK AM industry, Marks & Clerk can offer tailored advice to patent owners and applicants across the AM sector.